n溝道增強型MOS管
(一)構造
絕緣柵型場效應管的構造表示圖如圖2-34所示。

(2)n溝道增強型MOS管
1)n溝道增強型MOSFET的導電溝道的構成
n溝道加強型MOSFET的溝道構成及符號如圖2-35所示,其中圖2-35 (a)所示是在一塊雜質濃度較低的P型半導體襯底上制造兩個高濃度的N型區,并分別將它們作為源極s和漏極D,然后在襯底的外表制造一層Si02絕緣層,并在上面引出一個電極作為柵極G。圖2-35(b)所示是其在電路中的符號。


式中,UT為開啟電壓(或閾值電壓);μn為溝道電子運動的遷移率;Cox為巾位面積柵極電容;W為溝道寬度;疋為溝道長度;W/L為MOSFET的寬長比。在MOSFET集成電路設計中,寬長比是一個極為重要的參數。
(3)n溝道增強型輸出特性曲線
n溝道MOS管的輸出特性曲線如圖2-37所示。與結型場效應管的輸出特性相似,它也分為恒流區、叮變電阻區、截止區和擊穿區。其特性如下所示。
①截止區:UGS≤UT,導電溝道未構成,iD=0。

②恒流區:
1、曲線距離平均,UGS對iP的控制才能強;
2、UDS對iD的控制才能弱,曲線平整;
3、進入恒流區的條件,即預災斷條件為UDS≥UCS-UT。
③可變電阻區:
可變電阻區的電流方程為:

因而,可變電阻區的輸出電阻rDS為

n溝道增強型MOS管的工作原理
1.vGS對iD及溝道的控制作用

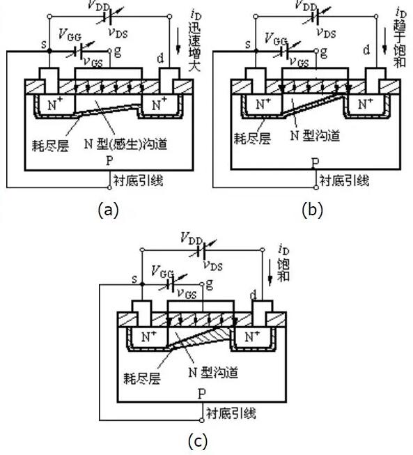
MOS管的源極和襯底通常是接在一起的(大多數管子在出廠前已連接好)。從上圖(a)可以看出,增強型MOS管的漏極d和源極s之間有兩個背靠背的PN結。當柵-源電壓vGS=0時,即使加上漏-源電壓vDS,而且不論vDS的極性如何,總有一個PN結處于反偏狀態,漏-源極間沒有導電溝道,所以這時漏極電流iD≈0。
若在柵-源極間加上正向電壓,即vGS>0,則柵極和襯底之間的SiO2絕緣層中便產生一個垂直于半導體表面的由柵極指向襯底的電場,這個電場能排斥空穴而吸引電子,因而使柵極附近的P型襯底中的空穴被排斥,剩下不能移動的受主離子(負離子),形成耗盡層,同時P襯底中的電子(少子)被吸引到襯底表面。當vGS數值較小,吸引電子的能力不強時,漏-源極之間仍無導電溝道出現,如上圖(b)所示。
vGS增加時,吸引到P襯底表面層的電子就增多,當vGS達到某一數值時,這些電子在柵極附近的P襯底表面便形成一個N型薄層,且與兩個N+區相連通,在漏-源極間形成N型導電溝道,其導電類型與P襯底相反,故又稱為反型層,如上圖(c)所示。vGS越大,作用于半導體表面的電場就越強,吸引到P襯底表面的電子就越多,導電溝道越厚,溝道電阻越小。我們把開始形成溝道時的柵-源極電壓稱為開啟電壓,用VT表示。
由上述分析可知,N溝道增強型MOS管在vGS<VT時,不能形成導電溝道,管子處于截止狀態。只有當vGS≥VT時,才有溝道形成,此時在漏-源極間加上正向電壓vDS,才有漏極電流產生。而且vGS增大時,溝道變厚,溝道電阻減小,iD增大。這種必須在vGS≥VT時才能形成導電溝道的MOS管稱為增強型MOS管。
2.vDS對iD的影響

如上圖(a)所示,當vGS》VT且為一確定值時,漏-源電壓vDS對導電溝道及電流iD的影響與結型場效應管相似。漏極電流iD沿溝道產生的電壓降使溝道內各點與柵極間的電壓不再相等,靠近源極一端的電壓最大,這里溝道最厚,而漏極一端電壓最小,其值為vGD=vGS - vDS,因而這里溝道最薄。但當vDS較小(vDS《vGS–VT)時,它對溝道的影響不大,這時只要vGS一定,溝道電阻幾乎也是一定的,所以iD隨vDS近似呈線性變化。
隨著vDS的增大,靠近漏極的溝道越來越薄,當vDS增加到使vGD=vGS-vDS=VT(或vDS=vGS-VT)時,溝道在漏極一端出現預夾斷,如上圖(b)所示。再繼續增大vDS,夾斷點將向源極方向移動,如上圖(c)所示。由于vDS的增加部分幾乎全部降落在夾斷區,故iD幾乎不隨vDS增大而增加,管子進入飽和區,iD幾乎僅由vGS決定。
n溝道場效應管開關電路
MOSFET一直是大多數N溝道場效應管開關電路電源(SMPS)選擇的晶體管技術。MOSFET用作主開關晶體管,并用作門控整流器來提高效率。本設計實例對P溝道和N溝道增強型MOSFET做了比較,以便選擇最適合電源應用的開關。MOSFET一直是大多數開關電源(SMPS)首選的晶體管技術。當用作門控整流器時,MOSFET是主開關晶體管且兼具提高效率的作用。為選擇最適合電源應用的開關,本設計實例對P溝道和N溝道增強型MOSFET進行了比較。
對市場營銷人員,MOSFET可能代表能源傳遞最佳方案(Most Optimal Solution for Energy Transfer)的縮寫。對工程師來說,它代表金屬氧化物半導體場效應晶體管(Metal Oxide Semiconductor Field Effect Transistor)。
由于具有較低的導通電阻(RDS(on))和較小尺寸,N溝道MOSFET在產品選擇上超過了P溝道。在降壓穩壓器應用中,基于柵控電壓極性、器件尺寸和串聯電阻等多種因素,使用P溝道MOSFET或N溝道MOSFET作為主N溝道場效應管開關電路。同步整流器應用幾乎總是使用N溝道技術,這主要是因為N溝道的RDS(on)小于P溝道的,并且通過在柵極上施加正電壓導通。
MOSFET多數是載流子器件, N溝道MOSFET在導電過程中有電子流動。 P溝道在導電期間使用被稱為空穴的正電荷。電子的流動性是空穴的三倍。盡管沒有直接的相關性,就RDS(on)而言,為得到相等的值,P溝道的管芯尺寸大約是N溝道的三倍。因此N溝道的管芯尺寸更小。
N溝道場效應管開關電路N溝道MOSFET在柵-源極端子上施加適當閾值的正電壓時導通;P溝道MOSFET通過施加給定的負的柵-源極電壓導通。
MOSFET的柵控決定了它們在SMPS轉換器中的應用。例如,N溝道MOSFET更適用于以地為參考的低側開關,特別是用于升壓、SEPIC、正向和隔離反激式轉換器。在同步整流器應用以及以太網供電(PoE)輸入整流器中,低側開關也被用來代替二極管作為整流器。P溝道MOSFET最常用作輸入電壓低于15VDC的降壓穩壓器中的高側開關。根據應用的不同,N溝道場效應管開關電路N溝道MOSFET也可用作降壓穩壓器高側開關。這些應用需要自舉電路或其它形式的高側驅動器。
n溝道場效應管型號-30V

烜芯微專業制造二極管,三極管,MOS管,橋堆20年,工廠直銷省20%,1500家電路電器生產企業選用,專業的工程師幫您穩定好每一批產品,如果您有遇到什么需要幫助解決的,可以點擊右邊的工程師,或者點擊銷售經理給您精準的報價以及產品介紹

